The second letter of the Hebrew alphabet is called "Bet" (rhymes with "mate") and has the sound of "b" as in "boy."
In modern Hebrew, the letter Bet can appear in three forms:
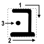
Write the manual print version (or "block" version) of Bet as follows:
Note that the second line extends past the vertical line to the right.
And the cursive version:
Note that the cursive version of Bet is formed using a single stroke.
Write the letter Bet (from right to left) in both manual print and script several times:
Note: The sole difference between the letter Bet and the letter Vet is the presence or absence of the dot in the middle of the letter (called a dagesh mark). When you see the dot in the middle of this letter, pronounce it as a "b"; otherwise, pronounce it as a "v."
The letter Bet is the second letter of the Aleph-Bet, having the numeric value of two. The pictograph for Bet is a house or dwelling, and the "architecture" of the classical Hebrew letter likewise looks something like a house constructed of three Vavs. Notice the opening on the left side of the letter: it functions as a "window" for the letterform.
Mysteries of Bet
In Kabbalistic literature, Bet represents otherness, duality, paradox, creation, a dwelling place in lower reality. Since the three Vavs close off view above, below, and behind the Bet, we are left with mystery about the nature of plurality coming from oneness.
The three Vavs add up to 18, the same value for chai, or life. The house of creation is then the life of the universe. Bet also has a prefixive function meaning "in," suggesting God's intention of abiding within the realm of creation.
A midrash explains why Bet was selected as the first letter of the Tanakh (the word bereshit, the first word of the Torah).All of the letters are said to have appeared before God to make their appeal, but Bet was chosen because on account of it, all of creation will bless (barukh) God.
Bet and the World to Come
Another midrash says that the Torah begins with the letter Bet, which represents the number two, because God created not one world, but two. There is the realm of this world, called olam ha-zeh (Χ’ΧΦΉΧΦΈΧ ΧΦ·ΧΦΌΦΆΧ), and there is the realm of the world to come, called olam ha-ba (Χ’ΧΦΉΧΦΈΧ ΧΦ·ΧΦΌΦΈΧ). We must live our lives in the present awareness of our eternal end in the world to come: "Know whence you came and to where you are going and before Whom you are destined to give a final accounting" (Pirkei Avot 3:1).
In some Jewish scribal traditions, the Bet that marks the first letter of the Torah is made extra large and includes 4 taggin (crownlets) as opposed to its normal one.
Bet is a plosive sound indicating force and power that proceeds from the mystery of Aleph that stands silently behind it:
Interestingly, av (ΧΧ) is the word for Father, the One who creates the universe.
Since we know that Yeshua was "in the beginning with God" and is Himself God (John 1:1-2), the Head of the house of creation is no other than Yeshua the Messiah (Hebrews 3:4). This is further confirmed by looking at the verse from Genesis 1:1 alongside the verse from John 1:1:
Yeshua is said to have "tabernacled" with us (John 1:14), whose body was indeed ΧΦΌΦ΅ΧΧͺΦΎΧΦ΅Χ(Bet-El), the habitation of God Almighty.
Bet and the Names of God
Bet is used with several Names and Titles of God, including Borei Israel (Creator of Israel), but is primarily used with the Son of God: ΧΦΌΦΆΧΦΎΧΦ±ΧΧΦ΄ΧΧ(ben Elohim). Interestingly, if we combine the name for father (i.e., av:ΧΧ) with the word for son (i.e., ben: (ΧΦΌΦΆΧ),we have the word even (ΧΦΆΧΦΆΧ) meaning stone. Even Ma'asu (ΧΦΆΧΦΆΧ ΧΦΈΧΦ²Χ‘ΧΦΌ) is the "Rejected Stone" and pictures the LORD Yeshua as the One rejected by Israel during His first advent.
Bet is a picture of the Son of God
The word for "create" in Hebrew is bara (ΧΦΌΦΈΧ¨ΦΈΧ),and the Aramaic word for son is bar (ΧΦΌΦ·Χ¨). If we separate the letters within the word for bara, we will have bar Aleph (ΧΦΌΦ·Χ¨ Χ),which points to the Son of the Father (Aleph). Thus we have: